Kìm Uốn Tròn Linh Kiện Điện Tử Knipex 35 32 115

- Dùng để uốn bẻ kẹp những chi tiết nhỏ, linh kiện điện tử

- Lò xo hoạt động chậm, hạn chế va chậm các vật thể xunh quanh khi thao tác
- Thân kìm đánh bóng gương, tránh không gây bụi kim loại khi cắt hay thao tác trong môi trường sạch
- Chế tác bằng thép chrome vòng bi, tôi cứng bằng dầu

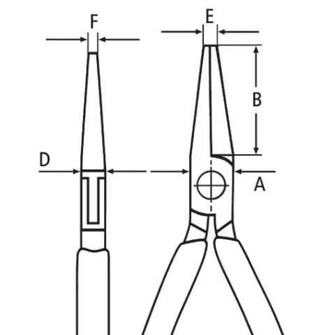
Bản Vẽ Kỹ Thuật:
- Chiều Dài Ngàm (B) = 22.5 mm
- Độ Dày Ngàm (joint) (D) = 6.5 mm
- Mũi Kìm (E) = 2.0 mm
- Độ Dày Mũi (F) = 1.0mm
- Đầu Kìm (A) = 11mm


Hình ảnh chụp thực tế tại Shop G7 Tools
=================================
Electronics Pliers 35 31 115
- Precision pliers for fine assembly work, e g. in electronics and fine mechanics
- For gripping, holding and bending

- Sturdy, zero backlash box joint
- Smooth ground gripping surfaces
- Edges carefully deburred
- Low-friction double spring for gentle and even opening
- The polish or mirror polish together with a fine film of oil offer effective rust protection - no circuit faults caused by peeling chrome from plated tools
- Round, pointed jaws
- Ball bearing chrome steel, oil hardened
Made in Germany
