Kìm Kẹp Linh Kiện & Chi Tiết Nhỏ Knipex 37 33 125


- Mũi kìm dẹp, trơn và bản rộng
- Kìm chuyên dụng dành cho linh kiện, các chi tiết nhỏ
- Dụng để kẹp chắc, giữ chặt
- Chốt kìm lap joint cứng cáp, không rung lắc
- Ngàm kẹp trơn láng, không gây hư hại sản phẩm cho vật dụng

- Các cạnh ngàm kẹp đã được đánh ba-via, giúp an toàn cho vật được kẹp
- Thích hợp cho công việc tỉ mỉ, kỹ thuật

- Thân kìm được mạ chrome giúp hạn chế gỉ sét
- Chế tác bằng thép dụng cụ cao tần đặc biệt, tôi dầu
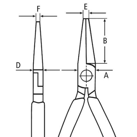
Kích Thước Bản Vẽ

- Jaw thickness (joint) (D): 7.0 mm
- Tips width (E): 2.0 mm
- Tips thickness (F): 5.5 mm
- Head width (A): 12 mm
- Jaw length (B): 27mm
Sản xuất tại Đức - Made in Germany
=============================
Flat Nose Pliers For precision mechanics Knipex 37 33 125
- Precision pliers for fine assembly work, e g. in electronics and fine mechanics
- For gripping, holding, bending and adjusting
- Tips precision-ground
- Smooth gripping surfaces
- Edges carefully deburred
- Lap joint
Technical Features
- Pliers chrome-plated
- Head chrome-plated
- Handles plastic coated
- Weight 78 g
- Dimensions 125 x 54 x 12 mm
- Standard DIN ISO 9655
