Kìm Kẹp Linh Kiện & Chi Tiết Nhỏ Knipex 35 21 115

- Mũi kìm dẹp, ngàm kẹp trơn
- Kìm chuyên dụng dành cho linh kiện, các chi tiết nhỏ
- Dụng để kẹp chắc, giữ chặt
- Chốt kìm box joint cứng cáp, không rung lắc, bền bỉ
- Ngàm kẹp trơn láng, không gây hư hại sản phẩm cho vật dụng

- Các cạnh ngàm kẹp đã được đánh ba-via, giúp an toàn cho vật được kẹp
- Thích hợp cho công việc tỉ mỉ, kỹ thuật

- Thân kìm được mạ chrome giúp hạn chế gỉ sét
- Chế tác bằng thép dụng cụ cao tần đặc biệt, tôi dầu

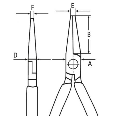
Kích Thước Bản Vẽ

- Jaw Length (B): 22.5mm
- Jaw thickness (joint) (D): 6.5 mm
- Tips width (E): 2.0 mm
- Tips thickness (F): 1.5 mm
- Head width (A): 11 mm
Sản xuất tại Đức - Made in Germany
=============================
Electronics Pliers 35 21 115

- Precision pliers for fine assembly work, e g. in electronics and fine mechanics
- For gripping, holding and bending
- Sturdy, zero backlash box joint
- Smooth ground gripping surfaces
- Edges carefully deburred
- Low-friction double spring for gentle and even opening
- The polish or mirror polish together with a fine film of oil offer effective rust protection - no circuit faults caused by peeling chrome from plated tools
- Half-round jaws
- Ball bearing chrome steel, oil hardened

Made in Germany