
Trong hộp đồ nghề của người thợ chuyên nghiệp hay người yêu thích sửa chữa tại nhà, chiếc mỏ lết luôn là vật dụng "bất ly thân". Tuy nhiên, để tìm được một sản phẩm vừa nhẹ, vừa bền lại có độ mở rộng vượt trội thì không thể không nhắc đến Lobster UM-XG Hybrid. Đây không chỉ là một công cụ, mà là di sản hơn 130 năm của ngành cơ khí Nhật Bản.
Video sản phẩm:
Lobster – Biểu tượng "Tôm Thép" và hành trình hơn một thế kỷ
Thương hiệu Lobster (thuộc tập đoàn Lobtex) ra đời từ năm 1888. Với người Nhật, hình ảnh con Tôm tượng trưng cho sự bền bỉ và trường thọ. Từ những chiếc mỏ lết đầu tiên sản xuất vào năm 1928, Lobster đã không ngừng cải tiến để trở thành tiêu chuẩn vàng trong ngành dụng cụ cầm tay.
Dòng mã hàng UM-XG chính là niềm tự hào của hãng khi ứng dụng công nghệ Hybrid – kết hợp hoàn hảo giữa vật liệu siêu nhẹ và thiết kế chịu lực đỉnh cao, phục vụ hiệu quả cho mọi công việc từ lắp đặt điện nước, sửa chữa ô tô đến bảo trì máy móc công nghiệp.
| Mã Lobster | Ngàm Mở | Chiều Dài | Trọng Lượng |
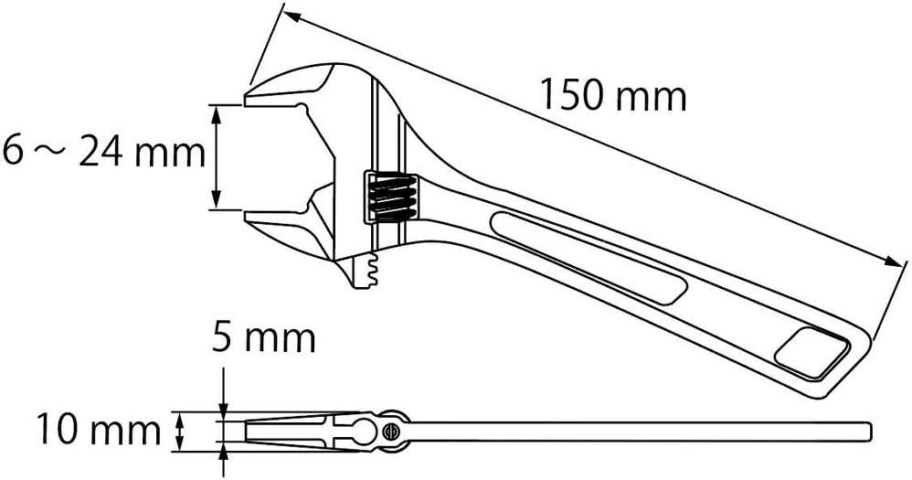
| UM24XG | 6-24mm (M16) | 150mm | 90 g |
| UM30XG | 8-30mm (M20) | 200mm | 170g |
| UM36XG | 8-36mm (M24) | 245mm | 300g |
| UM49XG | 12 - 49mm (M30) | 300mm | 530g |
Nhấp vào mã để dẫn đến đường link!

Điểm yếu chí mạng của mỏ lết thông thường là dễ làm bo tròn góc cạnh bu lông. Lobster đã giải quyết triệt để bằng thiết kế X-Drive. Ngàm của UM-XG tiếp xúc chính xác vào các mặt phẳng của đai ốc, giúp phân phối lực đều hơn, siết chặt hơn mà không gây hư hại cho linh kiện.
Nhờ kỹ thuật rèn tiên tiến, UM-XG nhẹ hơn các loại mỏ lết cùng kích cỡ tới 50% (chỉ nặng 90g). Điều này cực kỳ quan trọng khi bạn phải làm việc trên cao hoặc thao tác liên tục trong nhiều giờ, giúp giảm thiểu tối đa tình trạng mỏi cổ tay.
Phần mũi ngàm được vát mỏng tinh tế, cho phép bạn dễ dàng lách vào những vị trí hẹp, nơi mà những chiếc mỏ lết dày cộm thường "bó tay".

| Thông số | Chi tiết |
| Mã sản phẩm | UM24XG |
| Thương hiệu | Lobster (Nhật Bản) |
| Độ mở tối đa | 24 mm |
| Chiều dài | 150 mm |
| Trọng lượng | 90g |
| Tính năng nổi bật | Ngàm X-Drive. |
| Xuất xứ | Made in Japan |

Một sản phẩm cao cấp cần một chế độ chăm sóc xứng tầm. Sau khi hoàn thành công việc, bạn nên:
Vệ sinh sạch: Lau sạch bụi bẩn và dầu mỡ bám trên thân mỏ lết.
Dưỡng dầu chuyên dụng: Sử dụng một chút dầu Ballistol nhỏ vào trục vít và ngàm. Ballistol không chỉ giúp bôi trơn hoàn hảo mà còn tạo lớp màng bảo vệ chống gỉ sét tuyệt vời, giữ cho các khớp nối luôn trơn tru như ngày đầu mới mua.
Cất giữ: Để trong hộp dụng cụ hoặc treo lên giá ở nơi khô ráo.

Tại Việt Nam, việc lựa chọn địa chỉ uy tín là yếu tố tiên quyết để sở hữu đúng chất lượng Nhật Bản. G7 Tools tự hào là nhà phân phối chính thức thương hiệu Lobster tại Việt Nam.
Khi mua hàng tại G7 Tools, bạn không chỉ nhận được sản phẩm Lobster UM-XG chuẩn "Made in Japan" mà còn được hưởng chính sách bảo hành hậu mãi chu đáo và sự tư vấn tận tâm từ đội ngũ kỹ thuật.
G7 Tools – Đồng hành cùng người thợ Việt bằng những dụng cụ đẳng cấp nhất.