Kìm Uốn Thép Knipex Round Nose Pliers 22 06 160
  
    
- For bending wire loops/ uốn bẻ thép
 
- Round, short jaws; finely ground/ mũi tròn và ngàm ngắn
 
- Smooth tips/ mũi tròn trơn
 

Thông Số Mũi:
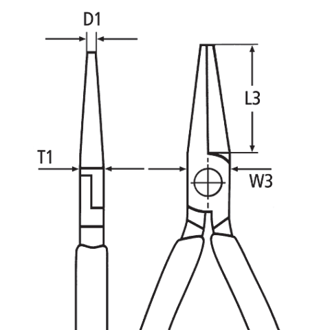
- Jaw thickness (joint) (T1) 9.5 mm
 
- Tips thickness (T2) 3.0 mm
 
- Jaw length (L3) 30.0 mm
 
- Head width (W3) 18 mm
 

 
Trọng lượng - Tiêu chuẩn:
- Trọng lượng 175 g
 
- Kích thước 160 x 48 x 19 mm
 
- Cách điện 1000 Volt được VDE kiểm định, theo tiêu chuẩn DIN EN 60900 IEC 60900
 
Sản xuất tại Đức - Made in Germany